
赶碳号长期以来一直关注光伏领域的专利大战。当下光伏正在“反内卷”,“反内卷”的指向就是保留先进产能,淘汰落后产能。在保护研发与创新的时代背景下,专利工具到最后很有可能成为“反内卷”的一大利器。
2025年上半年组件出货量TOP10企业,各家的专利风险与专利布局如何,谁的专利护城河最深,哪家的风险最大?

光伏企业专利诉讼关系图;赶碳号制表
当光伏从增量时代进入存量博弈时代,企业间所有的商业竞争一出手就是刺刀见红。当下,晶科能源与隆基绿能的专利诉讼在海外激战正酣。我们有必要盘点一下组件出货TOP10企业的专利情况。
自从2019年韩华起诉晶科、隆基以来,光伏领域的专利战就没有真正停止过。TOP10企业中,严格意义上完全没有卷入专利诉讼的,实际上仅有两家企业:协鑫集成和横店东磁。
通威股份作为组件TOP10中跃升最快的企业,除了在叠瓦技术上与Maxeon有过纠纷以外,其实也不算真正卷入专利诉讼。不过,由于其是硅料+电池的双龙头,其在 产业链上的影响力决定了专利风险非常有限,所以并不是我们今天分析的重点。
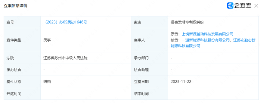
还有一家企业就是一道新能。根据赶碳号调查,一道新能曾经在2023年被晶科能源的子公司上饶新源越动科技发展有限公司起诉侵犯其两件发明专利的权利。

所以,今天的文章分为三部分,先对头部企业专利情况系统盘点下,然后再分析协鑫集成、横店东磁两家企业的专利情况。
01
TOP10专利武器大比拼
赶碳号在商用专利数据库中统计组件前十销售量企业的专利申请数据。需要说明的是,我们列举出的专利数据包括各企业下属公司的授权专利、审查中专利和已经失效的专利,统计日期为截至2025年8月5日。

TOP10专利申请数量排名
根据统计结果可以看出,天合光能的申请量在所有企业中排名第一,达到了7219件!晶科、隆基的专利量则排在第二三位。
有些令人意外的是阿特斯。因为自去年开始,阿特斯已经被多家企业起诉专利侵权,这家企业给人的印象似乎在专利方面实力较弱,但实则不然。阿特斯的专利申请数量也达到了4669件,完全属于光伏企业专利第一梯队。
其他几家卷入诉讼的企业也都有较大申请量,而协鑫集成的专利申量较少,横店东磁虽然加上磁业务其专利申请量超过3700件,但真正与光伏相关的专利仅有681件,是排名前十的企业中专利量最少的。

TOP10企业专利有效性分析;赶碳号制表
通过分析各家企业专利的法律状态,可以看出,虽然天合光能的总体申请量较大,但目前有效的专利数量并不是最多。
有效专利最多的则是隆基绿能,达到3900件,天合光能有效专利为3448件,晶科能源有效专利为2449件。协鑫集成有效专利数量为519件,横店东磁的有效专利数量仅为361!
统计各家失效专利占比可知,一道新能的失效专利占比最低,仅为3%,阿特斯、协鑫集成的失效专利则高达40%,晶澳科技的失效专利占比也达到了32%,横店东磁的失效占比为17%,晶科、隆基、天合、通威等失效占比均低于17%。
有效专利越多,表明其专利武器储备库充足,失效专利越多,表明其专利维护工作不利,或是前期申请的专利多为低价值专利,未被授权或是不得已放弃这部分专利。
我们再统计正在审查中的专利这一项,进一步发现,天合光能占比超过33%,横店东磁、一道、晶科占比约为30%,晶澳、通威、协鑫的在审专利占比约为15%,而阿特斯审中专利的占比仅为6.7%。审中专利越高,表明该企业的研发投入占比越高,研发能力越强。

TOP10企业专利类型分析;赶碳号制表
发明专利,因为要经过实质审查,申请的技术要求很高。因此,申请的发明专利越多,越表明企业的专利技术含金量越高。
通过对上述企业专利申请类型的统计发现,晶科和天合申请的发明专利最多,晶科发明专利占比最高,高达70%,排名第二的是横店东磁,达到65.6%,阿特斯发明专利占比最低,为26%,协鑫集成的发明专利占比为45.7%。
02
协鑫集成专利分析
下面具体分析协鑫集成的专利实力。

协鑫集成专利申请趋势;赶碳号制表
统计协鑫集成各年的专利申请量,我们可以发现,其申请量在2016年和2017年最多,分别为176件和141件,随后几年的申请量则低于70件,直到2022年申请量再次回升,平均年申请量在100件左右。2025年,因为还有新申请的专利没有公开的原因,目前仅统计到有22件专利。

专利布局的国家分布情况,可以反映出企业对产品市场的重视或规划。
经过统计我们发现,协鑫集成的专利基本就是在国内申请,仅有十分少量的专利进入了美国、日本、欧洲和澳洲,可见,协鑫对还是偏爱国内市场,未对海外市场进行提前布局。

协鑫集成专利法律状态分布
协鑫集成共申请专利1138件,授权有效的专利有519件。有效专利越多,表明其专利维持较好,专利质量较好,申请后待审的发明专利有164件,而失效的则较多,超过456件,表明其授权后放弃的低价值专利多,或是被驳回专利多。

协鑫集成专利申请类型分布
协鑫集成的专利中,发明专利有520件,实用新型数量较多,达到613件,另外协鑫集成还申请了5件外观设计专利。

协鑫集成专利申请技术分布
通过对协鑫集成的专利进行大致的技术划分,可以看出,协鑫集成的专利中涉及组件的专利最多,超过500件。
另外,由于协鑫集成是行业内钙钛矿电池的领先者,其目前申请了超过200件的钙钛矿电池专利。同时,协鑫集成布局较多的晶硅生产相关专利,而在TOPCon电池方面的专利总体不多,约有89件,而对于BC电池和异质结电池,目前仅布局有30件左右。同时,协鑫集成布局了一定光伏+方面的专利,主要涉及充电设备、农业等方面。

协鑫集成专利法律事件统计
专利的法律事件,主要是专利生命周期内与专利确权之外相关的一些关联事件,是专利运用价值的一种体现。
我们具体统计协鑫集成处于授权有效状态专利的法律事件,可以看出,公司有167件专利出现过权利转移(转让),出现转移的原因包括协鑫内部各个公司之间的转让,或是公司更名导致的著录项目变更;也包括购买专利行为,比如,其中专利CN105008595B过直拉法制造铟掺杂硅,则是协鑫2023年购买自缅克电子。
另外,协鑫还在2023年批量购买过爱迪生太阳能公司的多件专利,涉及颗粒硅生产、硅烷制备、CN105026029B借助粒度分布控制使温度梯度最佳化而改进流化床反应器的操作、CN104159848B用于提纯硅烷的方法和系统就是2023年购买自爱迪生太阳能公司。
此外,协鑫还致力于通过专利为企业进行融资,最近两年,协鑫有4件专利涉及组件清扫机器人、焊带、制氢方面的专利质押给中国光大银行和中国银行以获取资金。
协鑫的子公司的两件专利曾经遭遇竞争对手的无效,但专利最终被维持有效,可见协鑫的专利质量还是非常高的,经受住了无效的考验。
此外,协鑫的CN101191199B一种APCVD喷涂新配方还曾经因某些原因(可能是专利权属纠纷)经历过保全。
03
专利最少的TOP10企业——横店东磁

横店东磁专利申请趋势
统计横店东磁各年的专利申请量,我们可以看出,其申请量在2020年总体在50件以下,从2020年开始,电池相关的专利量才逐渐提升,2021年,横店东磁申请量为124件专利,是其申请量最高的一年,至2023年又略有下降,但仍保持在108件以上。2025年,因为还有新申请的专利没有公开的原因,目前仅统计到有17件专利。

横店东磁专利申请国家分布
经过统计可以发现,横店东磁的专利布局主要是在国内。国外方面,欧洲地区是其专利布局最多的海外地区,但也仅仅有30件,横店东磁主要靠美国市场赚钱,但其在美国市场专利布局更少,只有14件。
众所周知,横店东磁的海外市场主要是在欧洲和美国,可见其在欧洲、美国的专利布局,远远无法为其业务保驾护航。

横店东磁专利法律状态分布
横店东磁共申请专利681件,授权有效的专利有361件,申请后待审的发明专利有202件,而失效的相对较少,有118件。

横店东磁的专利中,发明专利占比较高,有445件,实用新型数量有232件,另外横店东磁还申请了4件外观设计专利。

横店东磁专利申请技术分布
通过对横店东磁的专利进行大致的技术划分,可以看出,横店东磁申请了接近250件涉及组件的专利,横店东磁是目前的产品主要为TOPCon,其目前申请了约130件的TOPCon电池及工艺的专利,而横店东磁还保有59件PERC专利,且部分PERC专利申请于2020年之后,对于已经逐渐退出市场的PERC电池,其对应的专利再维持的价值已经不高,对于BC电池,横店东磁申请了约71件,但对于异质结和钙钛矿电池,目前从专利来看,横店东磁则是完全没有进行规划,总体来看,横店东磁的经营和研发还是比较保守,并未同时进行多种电池的研发。

横店东磁专利法律事件统计
具体统计横店东磁处于授权有效状态的专利的法律事件,可以看出,横店东磁有超过75件进行了专利质押,这个规模已经是比较大手笔的专利运营事件,这批质押的专利主要涉及多件PERC电池、少量的BC电池、电池工艺、晶硅生产方面的专利,专利质押主要发生在2023年至2024年,质押人主要是中国建设银行东阳支行。
横店东磁有31件专利出现过权利转移(转让),出现转移的原因包括横店东磁内部各个公司之间的转让,或是公司更名导致的著录项目变更,并没有外购过专利。同时,横店东磁旗下有一家知识产权运营公司(不涉及专利代理业务)-金华市磁盟知识产权服务有限公司,该公司的法人是横店东磁的副总经理郭晓东,横店东磁将包括部分光伏相关的专利转让或许可给这个运营公司,可见横店东磁在知识产权运营方面做得不错。

横店东磁目前有一件专利进行了海关备案,海关备案具有极高的应用价值(天合光能曾在2024年对阿特斯的组件向上海海关提出扣押的请求),这件进行海关备案的专利是CN112447863B-一种太阳能电池及其制备方法,备案期限是2024年9月25日到 2034年9月26日,该专利涉及 PERC技术。
专利的权利要求1为:一种太阳能电池,其特征在于,所述太阳能电池包括设有氧化铝膜的晶体硅片,以及位于所述设有氧化铝膜的晶体硅片的相对两面上的正面减反膜结构和背面钝化膜结构;所述氧化铝膜位于所述晶体硅片表面;所述正面减反膜结构的折射率大于或等于2.14;所述氧化铝膜的厚度为2.5~4nm;所述正面减反膜结构包括依次层叠SiO2膜、SiN膜和SixOyNz膜;所述SiO2膜位于所述设有氧化铝膜的晶体硅片的制绒面的表面;所述SiO2膜的厚度为2~5nm;所述SiN膜的厚度为50~60nm;所述SiN膜的折射率大于2.2;所述SixOyNz膜的厚度为10~20nm;所述SixOyNz膜的折射率小于2.2。
虽然这件专利明面上属于PERC技术,但其权利要求的保护也适用于TOPCon电池,横店东磁选用该专利进行海关备案,可见该专利还是具备很高的战略价值。
04
协鑫集成和横店东磁专利风险小结
经过前面的分析,我们发现,协鑫集成和横店东磁的专利整体实力是远低于头部的晶科、天合、隆基等企业,这也与企业的规模、研发投入、对于知识产权的认识等多重因素有关,毕竟专利永远是花钱的时候比赚钱的时候多,大量的专利布局需要企业高层的支持,尤其是财力的支持。
但协鑫集成和横店东磁的专利也具有自己的特点。比如,协鑫较为专注于晶硅的生产和钙钛矿技术的研发,并布局有相当数量的专利,且在BC技术、异质结方面也布局一定的专利。
而横店东磁则在专利维持方面做的较好,失效专利占比较低,同时其发明专利占比超过65.5%。
另外,协鑫集成在专利诉讼的准备方面(包括主动诉讼和被诉)有一定主动意识。协鑫集成从外部购入一定数量的专利,这一策略如果应用得当,就会产生较大的杀伤力。比如,去年开始的“晶晶天”从LG购入的专利已经在专利诉讼中大显神威。
横店东磁则将自己的专利保持较为高的有效率,确保以后这些专利能否在诉讼中有用武之地,此外,横店东磁还在海关备案了一件专利,通过海关备案的专利请求查扣涉及侵权的产品,可以有效对竞争对手进行贸易上的压制。
然而,两家企业目前也存在一个较大的问题,就是专利布局数量较少、海外布局的专利更少。
专利诉讼的一个难点,就在于能够找到有效的专利,确保竞争对手能落入自己的专利保护范围,这样就可以针对对手提起侵权诉讼。当然,这件专利需要具备很高的稳定性。
如果能够同时做到以上两点,就相当于拥有了自己的专利武器。以两家企业目前的有效专利保有量来看,如果两家企业真的遇到诉讼,估计很难找到精确反诉对手、且不会被轻易无效掉的专利,特别是横店东磁,因为其手上的专利太少了。
横店东磁最大的麻烦会出现在国外。如果晶晶天在国外对其发起诉讼,横店东磁能够反制的手段将会非常有限。
最关键的是,横店东磁在TOP10企业中具有较高的盈利能力。在行业性亏损的当下,这种出色的盈利能力反而会招致竞争对手的打压。在这方面,协鑫集成的风险相对小一些,而且协鑫集成还有协鑫科技等硅料企业在供应链上为其背书。
专利的本质是保护创新,促进技术发展,实现产业的良性循环。
赶碳呈建议,光伏企业要加强创新,专业极致深耕,认真做好各项专利风险防控工作,提前筛查并积极应对,及时布局制定规避设计方案或替代方案,从而最大程度上降低专利诉讼风险。
版权声明:赶碳号所有原创内容和相关数据,未经授权,严禁转载。编审及统稿:侦碳
欢迎转评赞!转载请联系后台授权。
]article_adlist-->
海量资讯、精准解读,尽在新浪财经APP
富腾优配提示:文章来自网络,不代表本站观点。